Thông tin vòi lavabo nóng lạnh Kludi 400243975:
- ✅Tên sản phẩm: Vòi lavabo rửa mặt
- ✅Mã sản phẩm: 400243975
- ✅Loại vòi: 1 chân cao
- ✅Bộ sưu tập: Pure & Style
- ✅Chất liệu: Đồng mạ Cr/Ni
- ✅Màu sắc: Đen
- ✅Xuất xứ: Đức
- ✅Hãng sản xuất: Kludi

Hình ảnh: Vòi chậu rửa mặt nóng lạnh Kludi 400243975
Đặc điểm nổi bật của vòi rửa mặt 1 chân Kludi 400243975:
- ✅Xuất xứ Đức với độ chính xác cao và tiêu chuẩn sản xuất bậc nhất thế giới
- ✅Lớp mạ bền vững với thời gian
- ✅Thân van bằng đồng thau
- ✅Van đĩa bằng sứ chống bám cặn bẩn giúp khóa nước hoàn toàn
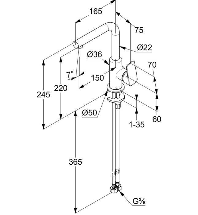
Thông số kỹ thuật vòi rửa mặt 1 chân cao Kludi 400243975:
- ✅Dòng chảy 4.5l/phút/3 bar
- ✅Dòng chảy cao 220mm, rộng 150mm
- ✅Đầu chờ G3/8
Bản vẽ kỹ thuật vòi rửa mặt 1 chân cao nóng lạnh Kludi 400243975

Thiết bị phòng tắm cao cấp LuxBath tự hào là nhà cung cấp vòi lavabo rửa mặt Kludi Đức 400243975 với giá bán thấp nhất, dịch vụ tốt nhất trên thị trường.
Thông tin chi tiết liên hệ:
CÔNG TY CỔ PHẦN QUỐC TẾ LUXBATH
Hãy liên hệ 0 9 8 9 1 2 3 7 8 8 để được tư vấn miễn phí và nhận nhiều ưu đãi!