Grohe là nhãn hiệu thiết bị vệ sinh cao cấp nhất thế giới về thiết bị nhà bếp bởi chất lượng, tính thẩm mỹ, tính chính xác và sự độc đáo.
Thông tin cơ bản về chậu bếp nhập khẩu Đức Grohe 31719SD0:
- ✅Tên sản phẩm: chậu bếp
- ✅Mã sản phẩm: 31719SD0
- ✅Nhãn hiệu: Grohe
- ✅Chất liệu: thép không gỉ AISI 304 (V2A)
- ✅Màu sắc:
- ✅Kiểu dáng: gắn bàn
- ✅tính năng: Độ bền cao, không trầy xước và không phai màu theo thời gian
- ✅Xuất xứ: Đức
- ✅Bảo hành:

Hình ảnh: Chậu rửa bát 1 hố Đức Grohe 31719SD0
Tính năng nổi bật chậu rửa chén Grohe 31719SD0:
- ✅Thiết kế 1 hố: Tối ưu hóa không gian, dễ dàng vệ sinh.
- ✅Chất liệu: Được làm từ thép không gỉ cao cấp, đảm bảo độ bền, chống ăn mòn và không bị biến màu theo thời gian.
- ✅Bề mặt: Bề mặt được xử lý chống bám vân tay, dễ dàng vệ sinh.
- ✅Độ sâu: Lòng chậu sâu, giúp chứa được nhiều bát đĩa.
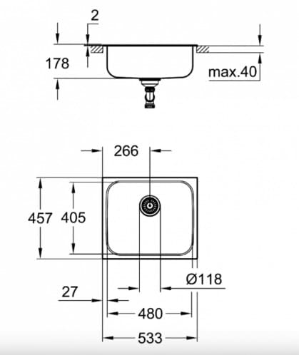
Thông số kỹ thuật chậu bếp nhập khẩu Grohe 31719SD0
- ✅Kích thước tủ: 600 mm
- ✅Kích thước: 533 x 457 mm
- ✅1 bát: 436 x 360 mm
- ✅Bán kính bát bên trong: R70
- ✅Đường cắt: 517 x 442 mm
- ✅Cống thoát nước: Ø 3,5"
Bản vẽ kỹ thuật chậu bếp Đức Grohe 31719SD0:
.jpg)
Bạn nên xem thêm:
Thiết bị vệ sinh cao cấp LuxBath tự hào là nhà cung cấp chậu bếp Đức Grohe 31719SD0 với giá thấp nhất, dịch vụ sau bán hàng tốt nhất trên thị trường.
Thông tin chi tiết liên hệ:
CÔNG TY CỔ PHẦN QUỐC TẾ LUXBATH
Liên hệ hotline 0 9 8 9 1 2 3 7 8 8 để nhận nhiều ưu đãi!